Brief information

Head of the department:
Professor Alexander Vitoldovich DOLBIN (Corr. Member NASU, Doctor of Science)

Department (laboratory) of thermal properties of molecular crystals was founded in 1962. Department was headed by Academician of NAS of Ukraine Manzhelii V.G. (1933-2013) from 1970 to 2007. From 2007 to 2016, the Department was headed by Doctor of Science Konstantinov V.A. The department was reorganized in 2018 by incorporation of two departments: Thermal properties of molecular crystals and Department of Structural studies of solids at low temperatures.

The main directions of the scientific activity of the Department:

Thermal properties of solids and nanostructures (physics of quantum macroscopic phenomena, quantum and cryocrystals, low-temperature dilatometry, thermal conductivity, heat capacity, etc.).

Structural properties of nanosystems, molecular crystals and hybrid materials (physics of crystalline and amorphous states, physics of phase transitions, structural studies of new materials and cryocrystals, kinetics of gas saturation with nanosystems, optical spectroscopy, etc.).

Studied properties:

Investigations carried out in the temperature interval from 0.4 to 300 K and pressures up to 8000 atm. Heat capacity, heat of phase transitions, thermal expansion, compressibility, isochoric and isobaric thermal conductivity, dielectric penetration for solids, conversion, quantum diffusion (configuration relaxation), sorption and thermally stimulated desorption of gases by nanostructures and nanomaterials are studied.

Brief information(top)

Experimental setups and Equipment:

  • low-temperature dilatometry for studying the thermal expansion of solids in the temperature range 2 - 290 K;
  • low-temperature adiabatic calorimetry for the study of heat capacity and thermal effects (2 - 300 K);
  • experimental methods for investigating isobaric thermal conductivity and isochoric thermal conductivity (2 - 300 K);
  • technique for investigating dielectric permittivity;
  • method for the synthesis of graphene oxide;
  • the technique of processing of nanostructures with a high-frequency discharge in a gaseous medium;
  • X-ray diffraction studies of powder samples with an operating temperature range from 2 K to room temperature;
  • electron diffraction studies with an operating temperature range from 2 K to room temperature;
  • set-up for investigating the spectral-luminescent properties of objects with a small quantum emission of luminescence in a wide temperature range (10 - 300 K);
  • set-up for measuring the integral and time-resolved luminescence spectra and the relative quantum yield of molecular emission.

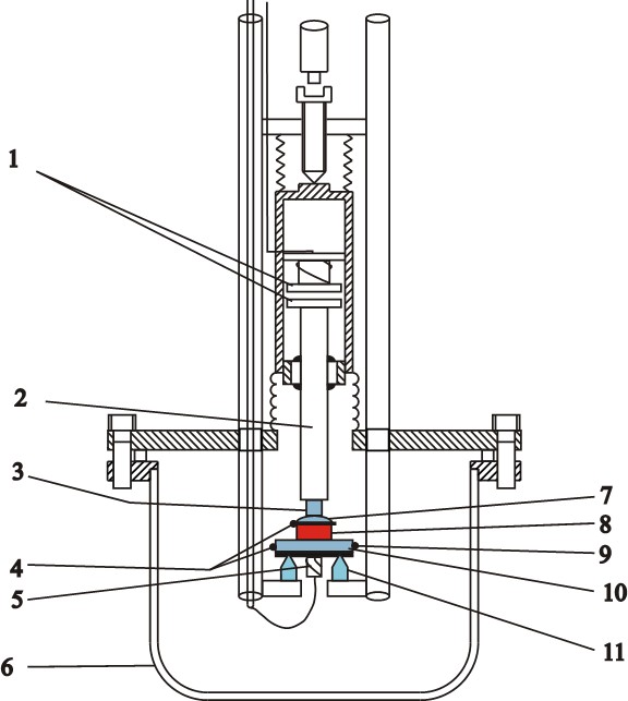
Low-temperature dilatometer

Low-temperature dilatometry for studying the thermal expansion of solids in the temperature range 2 - 290 K is shown in Fig. Dilatometer was designed in ILTPE NASU so that allows precision measurements of the linear coefficient of thermal expansion in studied temperature range. Measurements of thermal expansion provide information about the specific phase transitions and quantum phenomena in solids [Low Temp. Phys.42, 788 (2016)].

Adiabatic calorimetry

A adiabatic calorimeter for study of the heat capacity of nanomaterials in the temperature range from 2 to 300 K.The adsorption pump removes helium vapor from the bath. The calorimeter can be cooled up to 2 K by pumping helium vapor from 4He bath of the cryostat. Samples can be dopped by gases in the calorimeter cell. The calorimetric cell (see Fig. below) is placed into a vacuum chamber of calorimeter. The adiabatic conditions of the experiment are maintained by controlling the temperature of the adiabatic shield [Low Temp. Phys. 37, 424 (2011)].

Isobaric thermal conductivity

Schematic of the low-temperature section of the setup for measuring the thermal conductivity of samples using the stationary heat flow method is shown on Fig. below [Instrum Exp Tech 48, 417–421 (2005)].


Isochoric thermal conductivity


Isochoric thermal conductivity of solid with different densities are measured by a stationary method on a coaxial geometry device [Instr. Exp. Tech. 42, 133 (1999)]. Using a high-pressure cell, it is possible to grow a solid sample of sufficient density for inert gases and other gas or liquid materials. The measuring beryllium bronze cell aloow maximum permissible pressure near 800 MPa.

X-ray diffraction


X-ray measurements are carried out using a DRON series powder diffractometer. Structural measurements from helium to room temperatures for solids (molecular crystals, nanostructures, composites, and polymers) provide information about the morphology of samples; micro- and macrodeformation; the value of the short-range order and other processes occurring in the samples.

Sorption of gas impurities in nanomaterials

Sorption and desorption of gas impurities by powders of nanomaterials are investigated in the temperature interval 2 -290 K that allows to analyse the thermally activated and tunneling mechanisms of sorption. The example of the pressure variations in the process of 4He desorption from the sample of graphene oxide is shown on Fig. below [Low Temp. Phys. 39, 1090 (2013)].

Some principal results obtained in the department:

  • detection of quantum diffusion in solid deuterium;
  • detection of a strong decreasing in helium transfer by a superfluid film on the surface of solid para-hydrogen;
  • detection of glass-like behavior of weak solutions of cryocrystals;
  • detection of new mechanisms of strong influence of impurities on the thermal properties of crystals at low temperatures;
  • detection of negative thermal expansion of fullerite C60 at helium temperatures;
  • detection of the spin-nuclear conversion of deuteromethane in a solid solution of CD4 - Kr at helium temperatures;
  • detection of the existence and mutual conversion of different orientation glasses in fullerite C60 doped with gases;
  • detection of the glass-like behavior of the thermal conductivity of clathrate gas hydrates in a wide temperature range (2 - 200 K);
  • detection of quantum diffusion of He, H2, Ne impurities in fullerite C60 at low temperatures below 80 K;
  • it was first measured the coefficient of radial thermal expansion of nanotubes and the processes of spatial redistribution of impurity particles on the surface and inside the nanotube bundles were studied;
  • it was first experimentally investigated the heat capacity of one-dimensional (1D) atomic chains obtained by adsorption of gases in the grooves of carbon nanotube bundles;
  • it was obtained priority results of plastic characteristics of many cryocrystals, including a quantum hydrogen crystal and solid nitrogen;
  • it was obtained the proof of spontaneous phase separation in precipitated solid mixtures of hydrogen and deuterium;
  • joint structural and luminescent research of fullerite saturated with gases were performed, which made it possible not only to detect a strong effect of the displacement of the point of orientational vitrification of Tg, but also to explain the nature of the sharp change in the integrated luminescence intensity during the passage of the Tg point;
  • X-ray and electron diffraction studies of the structure of various cryoalloy systems, including solid mixtures of the simplest molecular components with inert gases to study them as molecular glasses;
  • it was explained anomalous (106 times) acceleration of conversion in solid hydrogen at very high pressures;
  • two polymorphs of para- bromobenzophenone crystals were obtained and a comparative study of the dynamics of triplet excitons in them was carried out.

The employees of the department were published more than 500 articles in refereed scientific journals. The employees of the department are co-authors of monographs and chapters:

  1. "Properties of Solid and Liquid Hydrogen. (In English, Jerusalem, Israel, 1971)
  2. "Cryocrystals". Ed. "Naukova Dumka", Kiev, 1983
  3. A.I. Belyaev, V.I. Silaev, Yu.E. Stetsenko / Flow-through cryostats for laboratory research / Kiev, Naukova Dumka, 1987 p. - 232 c.
  4. Yu.V.Naboykin, V.V. Samartsev, P.V. Zinoviev, N.B.Silaeva / Coherent spectroscopy of molecular crystals / Kiev, Naukova Dumka, 1986 p. - 204 c.
  5. "Properties of condensed phases of hydrogen and oxygen". Ed. "Naukova Dumka", Kiev, 1984 "Handbook of properties of condensed phases of hydrogen and oxygen". Hemisphere Publishing Corp., 1991
  6. V. A. Konstantinov, V. G. Manzhelii/ Review: Phonon scattering and heat transfer in simple molecular crystals, In Book: Lectures from the Winter School of Theor. Phys., 1993 Wroclaw, Poland, Plenum Press, New York and London, P. 321-333 (1994)
  7. "The Physics of Cryocrystals" (eds. Yu. A. Freiman, V. G. Manzhelii, M. L. Klein, and A. A. Maradudin) AIP Press, New York, 1996
  8. "Handbook of Binary Solution of Cryocrystals". Begell House Inc. New York,1997
  9. "Structure and thermodynamic properties of cryocrystals (handbook)" Begell House Inc., New York, 1999
  10. V.G.Manzhelii,A.I.Prokhvatilov, V.G.Gavrilko, A.P.Isakina. Handbook of Structure and Thermodynamic Properties of Cryocrystals. Begell House Inc., New York (1997), Wallinford (UK).
  11. "Structure and thermodynamic properties of cryocrystals (handbook)" Begell House Inc., New York, 1999.
  12. V. A. Konstantinov/ Review: Heat Transfer in Molecular Crystals, In Book: Heat Transfer -Theoretical Analysis, Experimental Investigations and Industrial Systems, Aziz Belmiloudi (Ed.), “InTech" Open Access Publisher, P.157-188 (2011)
  13. M.S. Barabashko, M.I. Bagatskii, V.V. Sumarokov/ Chapter 11. The heat capacity of nanotube bundles with 1D chains of gas adsorbates. In Nanotechnology in the Security Systems (pp. 121-130). Springer Netherlands (2015).
  14. A.I. Krivchikov, A. Jeżowski/ Chapter 3. A. Thermal Conductivity of Glasses and Disordered Crystals. Low-temperature Thermal And Vibrational Properties Of Disordered Solids: A Half-century Of Universal" Anomalies" Of Glasses, 2022, 69.

Scientific cooperation:

Active scientific cooperation exists with the following scientific centers:

  • - Department of Experimental Physics, Umea University (Sweden)
  • - W. Trzebiatowski Institute of Low Temperature and Structure Research PAS (Poland)
  • - Universidad Autónoma de Madrid, Madrid (Spain)
  • - P. J. Šafárik University in Košice, Park Angelinum, Košice (Slovakia)
  • - Department of Chemistry & Research Centre for Thermal and Entropic Science, Graduate School of Science, Osaka University, Osaka (Japan)
  • - V. N. Karazin Kharkiv National University, Kharkiv (Ukraine)
  • - Institute of Physics, NAS of Ukraine, Kyiv (Ukraine)
  • - National Technical University “Kharkiv Polytechnic Institute”, Kharkiv (Ukraine)
  • - Universitat Politecnica de Catalunya, Barcelona (Spain)
  • - Lappeenranta-Lahti University of Technology LUT (Finland)
Brief information(top)